Diagram 3/7 (Tracks 71-84)
IMPORTANT NOTE:
This manufacturer uses "Track" style wiring diagrams.
For information on how to use these diagrams effectively, please refer to Diagram Information and Instructions. Diagram Information and Instructions
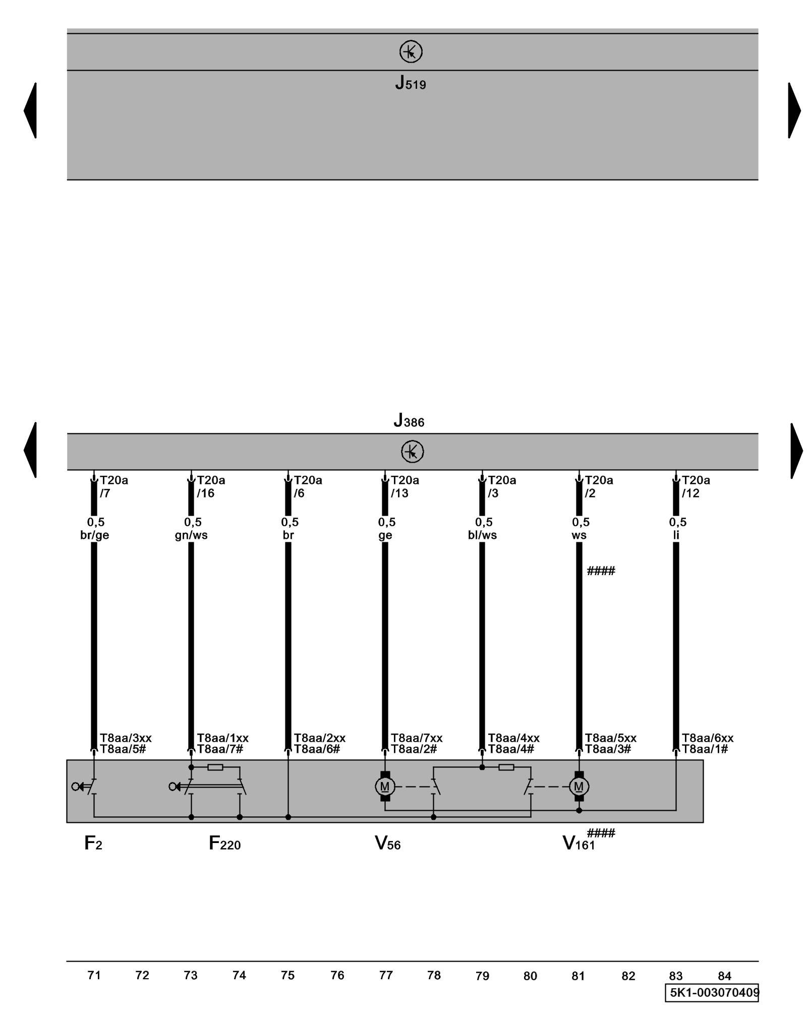
Driver's Door Control Module, Driver's Door Central Locking Lock Unit

ws = white
sw = black
ro = red
br = brown
gn = green
bl = blue
gr = grey
li = lilac
ge = yellow
or = orange
rs = pink
F2 - Driver's Door Contact Switch Locations
F220 - Driver's Door Central Locking Lock Unit Locations
J386 - Driver's Door Control Module
J519 - Vehicle Electrical System Control Module Control modules in front part of vehicle - Overview of Control Modules
T8aa - 8-Pin Connector
T20a - 20-Pin Connector
V56 - Driver's Door Central Locking System Motor
V161 - Driver's Door Central Locking (Safe) Motor
#### - Only models with -SAFE- Function
xx - Only left-hand drive vehicles
# - Only right-hand drive vehicles
Previous Diagram 3/6 (Tracks 57-70)
Next Diagram 3/8 (Tracks 85-98)