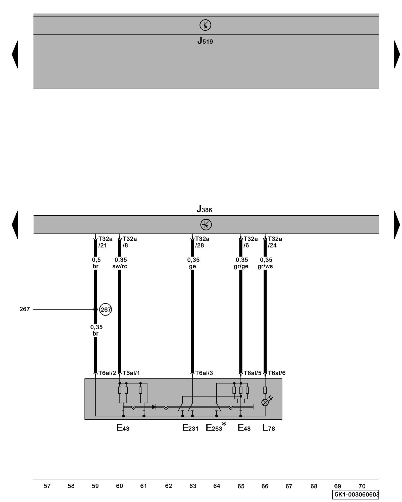
Diagram 3/6 (Tracks 57-70)
IMPORTANT NOTE:
This manufacturer uses "Track" style wiring diagrams.
For information on how to use these diagrams effectively, please refer to Diagram Information and Instructions. Diagram Information and Instructions
Driver's Door Control Module, Mirror Adjustment/Fold-in Switch, Outside Mirror Heating Switch

ws = white
sw = black
ro = red
br = brown
gn = green
bl = blue
gr = grey
li = lilac
ge = yellow
or = orange
rs = pink
E43 - Mirror Adjustment Switch
E48 - Mirror Selector Switch
E231 - Outside Mirror Heating Switch
E263 - Mirror Folding Switch
J386 - Driver's Door Control Module
J519 - Vehicle Electrical System Control Module Control modules in front part of vehicle - Overview of Control Modules
L78 - Mirror Adjustment Switch Illumination
T6al - 6-Pin Connector
T32a - 32-Pin Connector
(267) - Ground Connection 2 (in driver's door wiring harness)
* - Only models with fold-in mirrors
Previous Diagram 3/5 (Tracks 43-56)
Next Diagram 3/7 (Tracks 71-84)