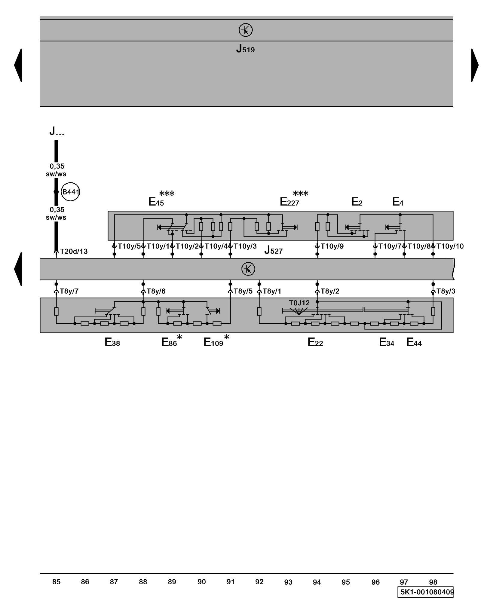
Diagram 1/8 (Tracks 85-98)
IMPORTANT NOTE:
This manufacturer uses "Track" style wiring diagrams.
For information on how to use these diagrams effectively, please refer to Diagram Information and Instructions. Diagram Information and Instructions
Turn Signal Switch, Headlamp Dimmer/Flasher Switch, Windshield Wiper Switch, Washer Pump Switch, Cruise Control Switch, Multi-Function Indicator Mode Select Switch

ws = white
sw = black
ro = red
br = brown
gn = green
bl = blue
gr = grey
li = lilac
ge = yellow
or = orange
rs = pink
E2 - Turn Signal Switch
E4 - Headlamp Dimmer/Flasher Switch
E22 - Windshield Wiper Intermittent Switch
E34 - Rear Window Wiper Switch
E38 - Windshield Wiper Intermittent Regulator
E44 - Windshield and Headlamp Washer Pump Switch
E45 - Cruise Control Switch
E86 - Multi-function Indicator Call-up Button
E109 - Multi-Function Indicator Memory Switch
E227 - Cruise Control -SET- Button
J519 - Vehicle Electrical System Control Module Control modules in front part of vehicle - Overview of Control Modules
J527 - Steering Column Electronic Systems Control Module Control modules in front part of vehicle - Overview of Control Modules
J... - Engine Control Modules (ECM)
T8y - 8-Pin Connector
T10y - 10-Pin Connector
T20d - 20-Pin Connector
(B441) - Cruise Control Connection (in main wiring harness)
* - Only models with multi-function indicator
*** - Only models with cruise control system
- Models with automatic distance control => Wiring Diagram Automatic Distance Control
Previous Diagram 1/7 (Tracks 71-84)
Next Diagram 1/9 (Tracks 99-112)