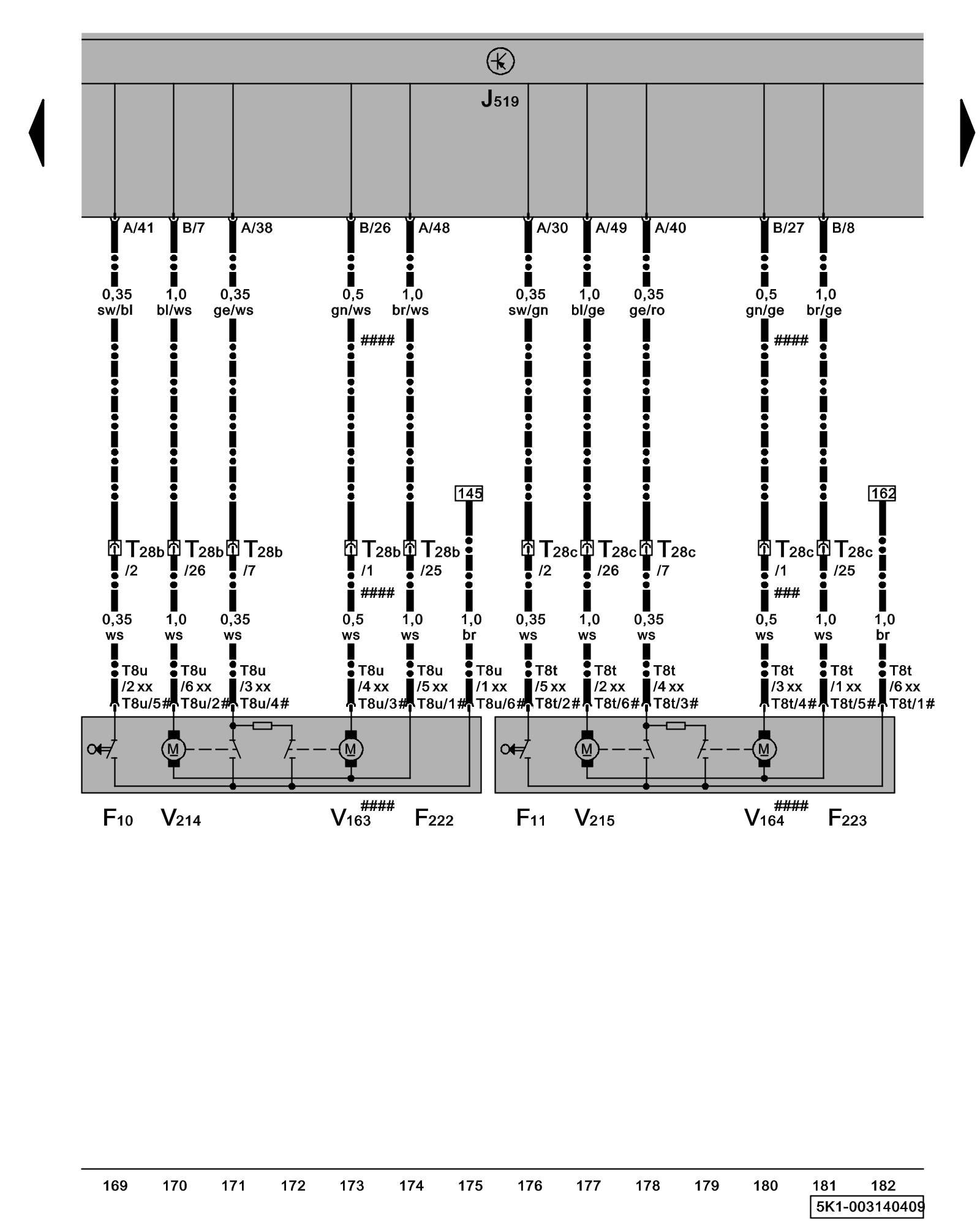
Diagram 3/14 (Tracks 169-182)
IMPORTANT NOTE:
This manufacturer uses "Track" style wiring diagrams.
For information on how to use these diagrams effectively, please refer to Diagram Information and Instructions. Diagram Information and Instructions
Left and Right Rear Door Contact Switch, Left and Right Rear Central Locking Lock Unit

ws = white
sw = black
ro = red
br = brown
gn = green
bl = blue
gr = grey
li = lilac
ge = yellow
or = orange
rs = pink
F10 - Left Rear Door Contact Switch
F11 - Right Rear Door Contact Switch
F222 - Left Rear Central Locking Lock Unit
F223 - Right Rear Central Locking Lock Unit
J519 - Vehicle Electrical System Control Module Control modules in front part of vehicle - Overview of Control Modules
T8t - 8-Pin Connector
T8u - 8-Pin Connector
T28b - 28-Pin Connector, connector station B-pillar, left Overview of connector stations and connectors
T28c - 28-Pin Connector, connector station B-pillar, right Overview of connector stations and connectors
V163 - Left Rear Central Locking (Safe) Motor
V164 - Right Rear Central Locking (Safe) Motor
V214 - Left Rear Central Locking (Lock) Motor
V215 - Right Rear Central Locking (Lock) Motor
-^^- - Only models without rear window regulator
#### - Only models with -SAFE- Function
xx - Only left-hand drive vehicles
# - Only right-hand drive vehicles
Previous Diagram 3/13 (Tracks 155-168)
Next Diagram 3/15 (Tracks 183-196)