Operation CHARM: Car repair manuals for everyone.

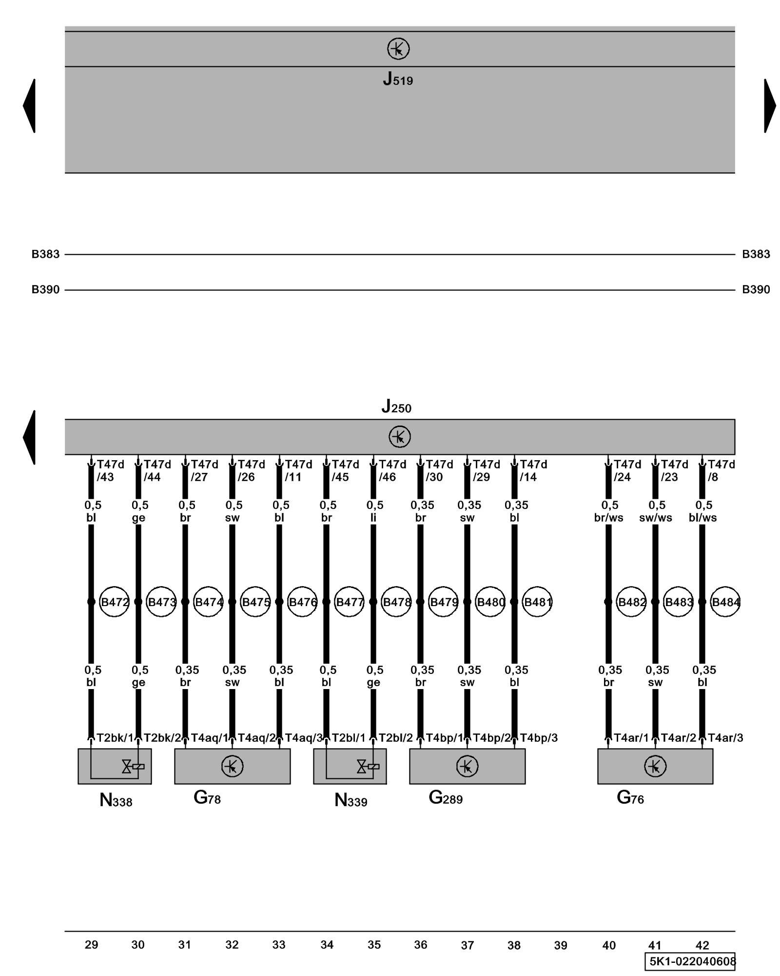
Diagram 22/4 (Tracks 29-42)






IMPORTANT NOTE:
This manufacturer uses "Track" style wiring diagrams.
For information on how to use these diagrams effectively, please refer to Diagram Information and Instructions. Diagram Information and Instructions


Electronic Damping Control Module, Level Control System Sensor, Rear Dampening Adjustment Valve





ws = white
sw = black
ro = red
br = brown
gn = green
bl = blue
gr = grey
li = lilac
ge = yellow
or = orange
rs = pink

G76 - Left Rear Level Control System Sensor Electronic Damping Component Views LR Level Control System Sensor -G76-

G78 - Left Front Level Control System Sensor Electronic Damping Component Views Front Level Control System Sensors -G78- / -G289-

G289 - Right Front Level Control Sensor Electronic Damping Component Views Front Level Control System Sensors -G78- / -G289-

J250 - Electronic Damping Control Module, in right rear side panel Control Modules in The Rear Of The Vehicle Electronic Damping Component Views Diagrams

N338 - Left Rear Dampening Adjustment Valve Electronic Damping Component Views [1][2]Diagrams

N339 - Right Rear Dampening Adjustment Valve Electronic Damping Component Views [1][2]Diagrams

T2bk - Double Connector

T2bl - Double Connector

T4aq - 4-Pin Connector

T4ar - 4-Pin Connector

T4bp - 4-Pin Connector

T47d - 47-Pin Connector

(B472) - Connection 8 (in main wiring harness)

(B473) - Connection 9 (in main wiring harness)

(B474) - Connection 10 (in main wiring harness)

(B475) - Connection 11 (in main wiring harness)

(B476) - Connection 12 (in main wiring harness)

(B477) - Connection 13 (in main wiring harness)

(B478) - Connection 14 (in main wiring harness)

(B479) - Connection 15 (in main wiring harness)

(B480) - Connection 16 (in main wiring harness)

(B481) - Connection 17 (in main wiring harness)

(B482) - Connection 18 (in main wiring harness)

(B483) - Connection 19 (in main wiring harness)

(B484) - Connection 20 (in main wiring harness)

Previous Diagram 22/3 (Tracks 15-28)

Next Diagram 22/5 (Tracks 43-56)