Wiper Motor
Wiper Motor
Special tools, testers and auxiliary items required
• Pry Lever (80-200)
Removal

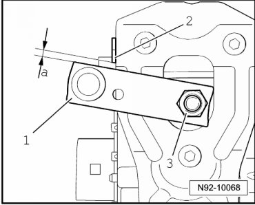
- Pry off ball head - arrow - of linkage - 1 - from motor crank using (80-200).
- Remove the nut - 1 -.

- Remove motor crank - 2 - from wiper motor shaft.
- Remove mounting bolts - arrows - and remove wiper motor with control module out of wiper frame.
Installation

- Insert wiper motor with control module into wiper frame and secure it with mounting bolts - arrows -.
- Tighten the threaded connections to the specification given in the assembly overview. Refer to => [ Windshield Wiper System Overview ] Windshield Wiper System Overview.
- Place motor crank - 1 - onto wiper motor shaft. Distance - a - to stop - 2 - must be 3 +/- 1 mm.

- Use the nut - 3 - to attach the motor crank and the windshield wiper motor shaft.
- Tighten the threaded connections to the specification given in the assembly overview. Refer to => [ Windshield Wiper System Overview ] Windshield Wiper System Overview.
- Push ball head - arrow - of linkage - 1 - onto motor crank.
