Procedure 1
Center Console, Highline, Golf from MY 09
Removing
- Switch off ignition.
Vehicles with automatic transmission
- Loosen the selector lever boot off the cover.
Vehicles with manual and DSG transmission
- Loosen the selector lever boot off the cover.
All vehicles
- Remove parking brake lever trim.
- Remove the trim in the center of the instrument panel (Golf from MY 09). Refer to => [ Trim, Instrument Panel, Center, Golf from MY 09 ] Trim, Instrument Panel, Center, Golf From MY 09
- Remove the trim around the A/C and heater controls (Golf from MY 09). Refer to => [ Trim, A/C and Heater Controls, Golf from MY 09 ] Trim, A/C and Heater Controls, Golf From MY 09
- Remove the center cover (Golf from MY 09).
Vehicles without CD changer
- Remove lining mat - 1 - from storage compartment.
- Remove the "AUX IN socket" - 2 -, if equipped.
- Remove the cover - 4 - from the mounts in storage compartment.
- Remove bolt - 3 - (1.5 Nm).

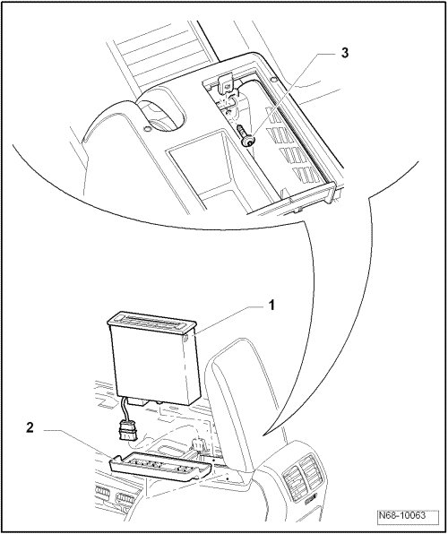
Vehicles with CD changer.
- Remove the CD changer - 1 -.
- Remove lining mat - 2 - from storage compartment.
- Remove bolt - 3 - (1.5 Nm).

All vehicles
- Open beverage holder - 1 - and remove two bolts - 2 - (1.5 Nm).
- Pull cup holder out of center console.
• The cupholder must be closed when inserting it into the center console. Then open it and install the two screws - 2 -.

- Remove trim panel - 1 - from mounts in lower area - arrow -.
- Remove trim panel from mounts in center console in upper area.

- Remove the "AUX IN socket" - 1 -, if equipped.
- Remove the bolts - 2 - and - 3 - (1.5 Nm).
- Release extension - 4 - from mounts in lower area.

- If the vehicle has a manual transmission, remove the noise insulation and shift mechanism - 3 - in the center console.
- Remove the two bolts - 2 - (1.5 Nm).
- Remove the ashtray - 1 - from center console and (depending on vehicle equipment) disconnect the wiring harnesses.
• The vehicle may have a storage compartment in place of an ashtray - 1 -. Removing the storage compartment is identical to removing the ashtray.

- Remove bolt - 1 - (1.5 Nm).
- Pull left footwell trim - 2 - out of mounts.
• Removal of right footwell trim is identical.
• Be sure to install the footwell trim panel - 2 - into the retainer - 3 - first.

- Remove lining mat - 4 - from storage compartment.
- Remove bolt - 5 - (1.5 Nm).
- Remove the two bolts - 3 - (1.5 Nm).
- Remove the two bolts - 2 - (1.5 Nm).
- Remove the cover on the center console - 1 - - in direction of arrow -.
• Install the bolts in the following sequence: - 2 -, - 5 - and - 3 -.

- Remove center console - 1 - from vehicle.
• Make sure the center console - 1 - locks securely into the mounts in the instrument panel - arrows -.

- Remove bolts - 1 -, - 2 -, - 3 - and - 4 - (1.5 Nm).
- Remove center console trim carrier - 5 - from vehicle.
