Cover
Cover
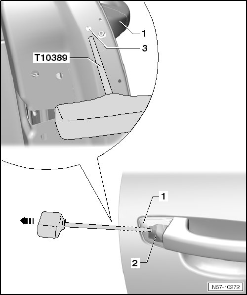
Special tools, testers and auxiliary items required
• Assembly Tool (T10389)
Removing

- Remove the plug - 3 -.
- Insert the (T10389) approximately 50 mm into the door behind the bracket locking hook - 2 -.
- Pull the (T10389) toward the rear - arrow - until the hook disengages.
- Pull the door handle - 2 - in - direction of arrow a -.

- Remove the cap - 1 - from the door - arrow b -.
Installation
- Pull the door handle - 2 - in - direction of arrow a -.

- Slide the cap - 1 - into the bracket - arrow b -.

- Remove the plug - 5 -.
- Insert a screwdriver - 4 - on the hooks - 3 -.
- Push the screwdriver - arrow - until the hook engages.