Front Brake Caliper Piston, FN3
Front Brake Caliper Piston, FN3
Special tools, testers and auxiliary items required
• Trim Removal Wedge (3409)
• Piston Resetting Tool (T10145)
• Disk (T10146/6) from Assembly Tool (T10146)
Removing
- Force the piston from the brake caliper using compressed air.
Place a wooden block in the caliper housing so the piston is not damaged.

- Remove the protective cap from the brake caliper using the trim removal wedge (3409).

- Remove the seal from the caliper using the trim removal wedge (3409).

When removing the seal, make sure that cylinder surface is not damaged.
Installing
- The surface of the piston and seal must only be cleaned using mineral spirits and then dried.
- Thinly coat the piston and seal using lithium grease (G 052 150 A2) before installing.
- Install the seal into the brake caliper.
- Install the protective cap - A - into the disk (T10146/6) - 1 -.

- Press in the protective cap with the disk - 1 - and the piston resetting tool (T10145) - 2 - into the brake caliper so that it contacts the brake caliper completely.

Check the seating of the protective cap:
- The protective cap must no longer be able to be pulled from the brake caliper by hand.

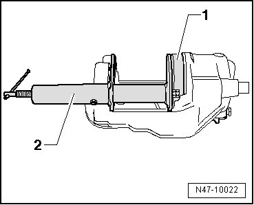
- Press the piston lightly against the protective cap and lock it into position, using for example, the trim removal wedge (3409) - 2 -.

Do not tilt the piston, to avoid damaging the seal sleeve.
- Using compressed air (Max. 3 bar), blow out the protective cap - 1 -. The protective cap springs onto the piston.
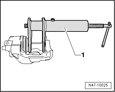
- Press the piston into the brake caliper using the piston resetting tool (T10145) - 1 -.

The outer sealing lip of the protective cap will then engage in the piston groove.