Intake Manifold Runner Control Valve, Checking
Intake Manifold Runner Control Valve, Checking
Special tools, testers and auxiliary items required
• Multimeter.
• Wiring diagram.
Test requirements
• The Intake Manifold Runner Control (IMRC) Valve (N316) fuse SB-24 OK.
• The parking brake engaged.
• The battery voltage at least 12.5 V.
• The selector lever of automatic transmission in position "P" or "N".
• All electrical consumers switched off (radiator fan must NOT run during test).
• A/C switched off.
• The fuel tank at least 1/4 filled.
• The ignition switched Off.
Test procedure
- Perform a preliminary check to verify the customers complaint. Refer to => [ Preliminary Check ] Preliminary Check.
Start diagnosis
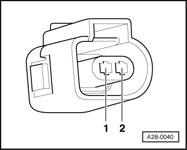
- Disconnect the Intake Manifold Runner Control (IMRC) Valve (N316) electrical harness connector.
Checking internal resistance
- Using a multimeter, check the Intake Manifold Runner Control (IMRC) Valve (N316) terminals 1 to 2 for resistance.

Specified value: 25 (+/- 10) ohms.
If the specified value was Not obtained:
- Replace the Intake Manifold Runner Control (IMRC) Valve (N316).
If the specified value was obtained:
Checking voltage
Switch the ignition On.
- Using a multimeter, check the Intake Manifold Runner Control (IMRC) Valve (N316) electrical harness connector terminal 1 to ground for voltage.

Specified value: Battery voltage.
- Switch the ignition Off.
If the specified value was Not obtained:
- Check the wiring from the Intake Manifold Runner Control (IMRC) Valve (N316) electrical harness connector terminal 1 to fuse 24 on Fuse Panel B.
- Check the electrical harness connector for damage, corrosion, loose or broken terminals.
- If necessary, repair the wiring connection.
If the specified value was obtained:
Checking wiring
- Remove the Engine Control Module (ECM) (J623). Refer to the Repair Information.
- Using a multimeter, check the Intake Manifold Runner Control (IMRC) Valve (N316) electrical harness connector terminal to the Engine Control Module (ECM) (J623) electrical harness connector terminal for resistance. Refer to the Wiring Diagrams.

Specified value: 1.5 ohms Max.
If the specified value was Not obtained:
- Check the wiring for a open circuit.
- Check the electrical harness connector for damage, corrosion, loose or broken terminals.
- If necessary, repair the faulty wiring connection.
If no malfunction is detected in the wiring and the voltage supply was OK:
- Replace the Engine Control Module (ECM) (J623). Refer to the appropriate service information.
Final procedures
After the repair work, the following work steps must be performed in the following sequence:
1. Check the DTC memory. Refer to => [ Diagnostic Mode 03 - Read DTC Memory ] Diagnostic Modes 01 - 09.
2. If necessary, erase the DTC memory. Refer to => [ Diagnostic Mode 04 - Erase DTC Memory ] Diagnostic Modes 01 - 09.
3. If the DTC memory was erased, generate readiness code. Refer to => [ Readiness Code ] Monitors, Trips, Drive Cycles and Readiness Codes.