Operation CHARM: Car repair manuals for everyone.

Manifold Pressure/Vacuum Sensor: Testing and Inspection







MAF Sensor, Checking

Use only gold-plated terminals when servicing terminals in harness connector of Mass Air Flow (MAF) Sensor (G70).

Special tools, testers and auxiliary items required

Multimeter.

Wiring diagram.

Test requirements

The Mass Air Flow (MAF) Sensor (G70) fuse 1 in Fuse Panel C is OK.

Battery voltage at least 12.5 volts.

All electrical consumers such as, lights and rear window defroster, switched off.

Vehicles with automatic transmission, shift selector lever into position "P" or "N".

A/C switched off.

Ground connections between engine/transmission/chassis OK.

Coolant Temperature at least 80 °C.

Ignition switched Off.

Test procedure

- Perform a preliminary check to verify the customers complaint. Refer to => [ Preliminary Check ] Preliminary Check

Start diagnosis

- Connect the scan tool.

- Start engine and let it run at idle.

- Using the scan tool, Check the air flow quantity of the Mass Air Flow (MAF) Sensor (G70) at idle:






If specified value is obtained, but DTC memory has a DTC concerning Mass Air Flow (MAF) Sensor (G70):

- Fault may be intermittent. Check the electrical harness connector for damage, corrosion, loose or broken terminals.

If the specified value was Not obtained:

Checking voltage supply

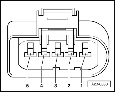
- Disconnect the Mass Air Flow (MAF) Sensor (G70) electrical harness connector - 1 -.





- Start the engine and let it run at idle.

- Using a multimeter, check the Mass Air Flow (MAF) Sensor (G70) electrical harness connector terminal 3 to engine Ground.





Specified value: Battery voltage.

- Switch the ignition Off.

If the specified value was Not obtained:

- Remove the fuse 1 in Fuse Panel C. Check the Mass Air Flow (MAF) Sensor (G70) electrical harness connector terminal 3 to fuse 1 in Fuse Panel C for an open circuit.

Specified value: 1.5 ohms max.

If the specified value was obtained:

Checking electrical circuit

- Remove the Motronic Engine Control Module (ECM) (J623). Refer to the Repair Information.

- Using a multimeter, check the Mass Air Flow (MAF) Sensor (G70) electrical harness connector terminals to the Motronic Engine Control Module (ECM) (J623) electrical harness connector T94 terminals for resistance.










Specified value: 1.5 ohms max.

If the specified value was Not obtained:

- Check the wiring for an open, high resistance or short to ground.

- Check the electrical harness connector for damage, corrosion, loose or broken terminals.

- If necessary, repair the faulty wiring connection.

If no malfunction is detected in the wiring and the voltage supply was OK:

- Replace Mass Air Flow (MAF) Sensor (G70). Refer to the Repair Information.

Final procedures

After the repair work, the following work steps must be performed in the following sequence:

1. Check the DTC memory. Refer to => [ Diagnostic Mode 03 - Read DTC Memory ] Diagnostic Modes 01 - 09.

2. If necessary, erase the DTC memory. Refer to => [ Diagnostic Mode 04 - Erase DTC Memory ] Diagnostic Modes 01 - 09.

3. If the DTC memory was erased, generate readiness code. Refer to => [ Readiness Code ] Monitors, Trips, Drive Cycles and Readiness Codes.