Crankshaft Gear/Sprocket: Service and Repair
Sensor Wheel
- Remove the engine. Refer to => [ Engine, Removing ] Engine, Removing.
- Remove the transmission side sealing flange. Refer to => [ Sealing Flange, Transmission Side ] Service and Repair.
- Remove the upper oil pan. Refer to => [ Upper Oil Pan ] Upper Oil Pan.
- Remove the balance shaft timing chain. Refer to => [ Balance Shaft Timing Chain ] Balance Shaft Timing Chain.
- Remove the connecting rod bearing caps.
- Remove the crankshaft bearing caps.
- Remove the crankshaft and the sensor wheel.
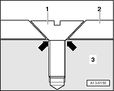
- Always replace the sensor wheel - 2 - any time the screws - 1 - are loosened.

• After tightening for the second time, the point where the heads of the countersunk screws make contact with the sensor wheel become so deformed that the screw heads at the crankshaft - 3 - - arrows - and the sensor wheel lies "loosely" under the screws.
• The sensor wheel can only be installed in one position. The holes are offset.
• Tightening specification, refer to => [ Crankshaft Overview ] Crankshaft Overview.