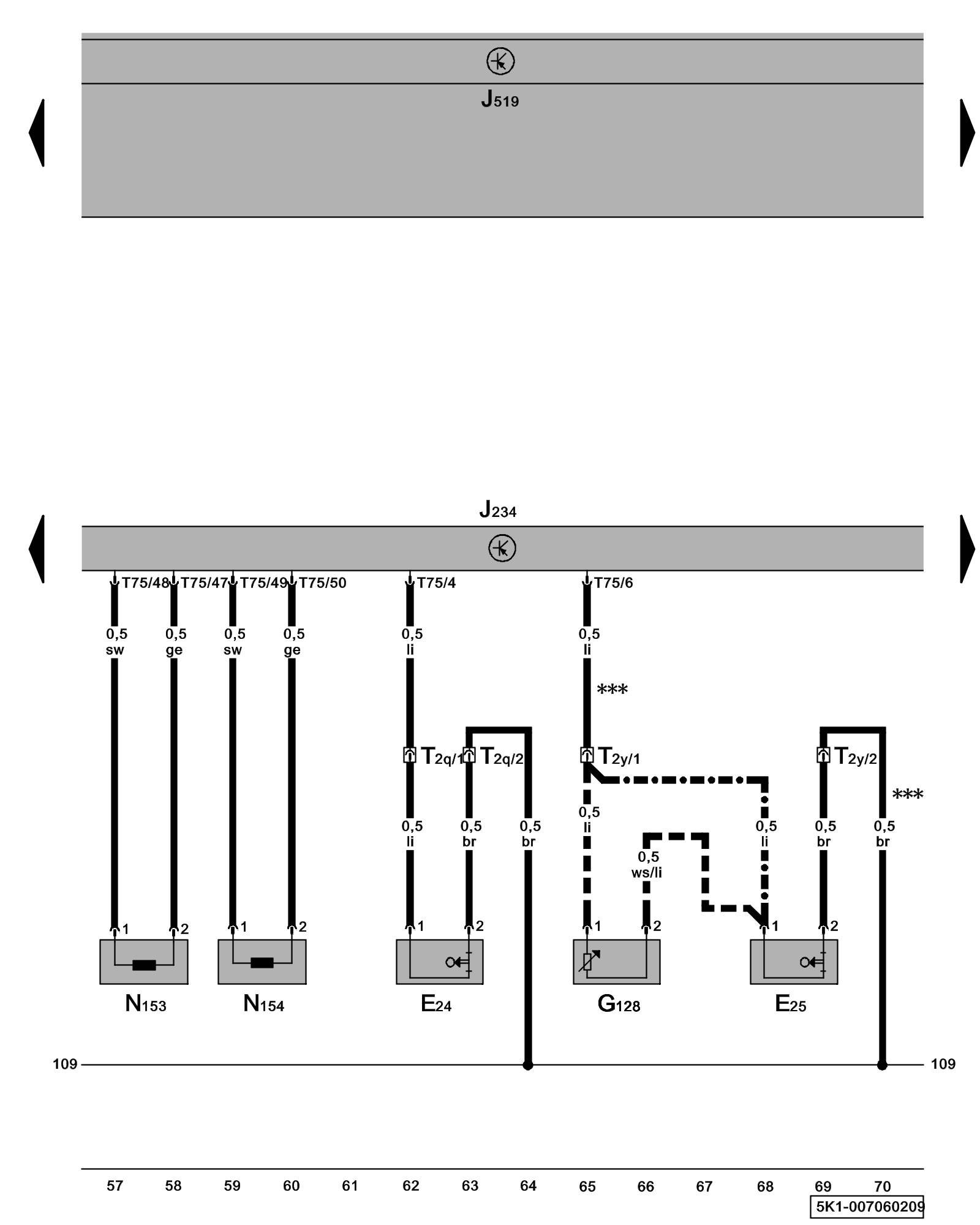
Diagram 7/6 (Tracks 57-70)
IMPORTANT NOTE:
This manufacturer uses "Track" style wiring diagrams.
For information on how to use these diagrams effectively, please refer to Diagram Information and Instructions. Diagram Information and Instructions
Airbag Control Module, Safety Belt Tensioner, Safety Belt Switch, Front Passenger's Seat Occupied Sensor

ws = white
sw = black
ro = red
br = brown
gn = green
bl = blue
gr = grey
li = lilac
ge = yellow
or = orange
rs = pink
E24 - Driver's Safety Belt Switch
E25 - Front Passenger's Safety Belt Switch Passive Occupant Detection System
G128 - Front Passenger's Seat Occupied Sensor Passive Occupant Detection System
J234 - Airbag Control Module, behind lower console Control modules in front part of vehicle - Overview of Control Modules
J519 - Vehicle Electrical System Control Module Control modules in front part of vehicle - Overview of Control Modules
N153 - Driver's Safety Belt Tensioner Igniter 1 Locations
N154 - Front Passenger's Safety Belt Tensioner Igniter 1 Locations
T2q - Double Connector, below driver's seat Overview of connector stations and connectors
T2y - Double Connector, below front passenger's seat Overview of connector stations and connectors
T50 - 50-Pin Connector
*** - Only models with front passenger's seat occupied sensor / safety belt switch
--- - Only models with front passenger's seat occupied sensor
-^- - Only models without front passenger's seat occupied sensor
Previous Diagram 7/5 (Tracks 43-56)
Next Diagram 7/7 (Tracks 71-84)