Operation CHARM: Car repair manuals for everyone.

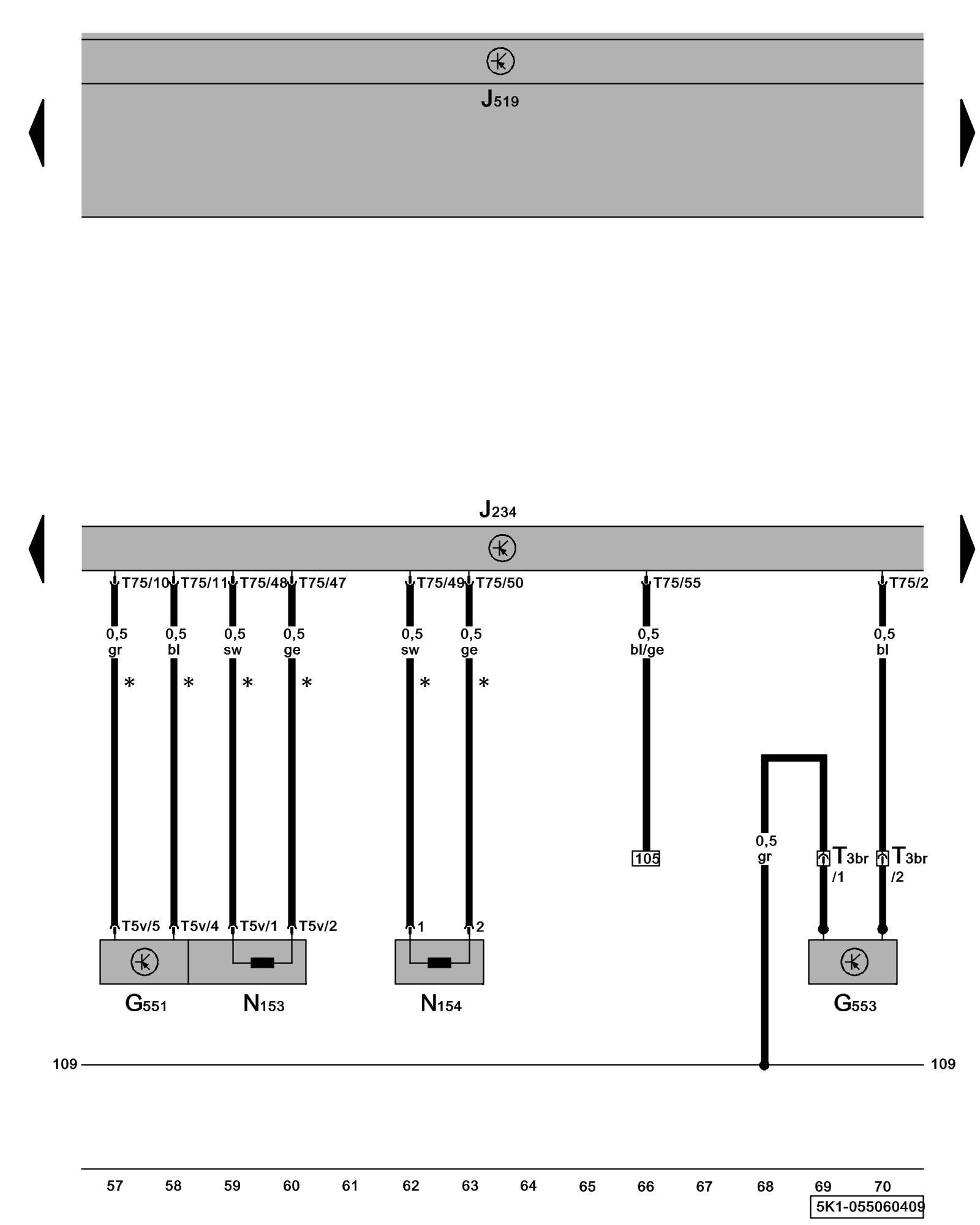
Diagram 55/6 (Tracks 57-70)






IMPORTANT NOTE:
This manufacturer uses "Track" style wiring diagrams.
For information on how to use these diagrams effectively, please refer to Diagram Information and Instructions. Diagram Information and Instructions


Airbag Control Module, Driver Belt Force Limiter, Safety Belt Tensioner Igniter, Safety Belt Switch, Driver Seat Position Sensor





ws = white
sw = black
ro = red
br = brown
gn = green
bl = blue
gr = grey
li = lilac
ge = yellow
or = orange
rs = pink

G551 - Driver Belt Force Limiter Locations

G553 - Driver Seat Position Sensor [1][2]Diagrams

J234 - Airbag Control Module, behind lower console Control modules in front part of vehicle - Overview of Control Modules

J519 - Vehicle Electrical System Control Module Control modules in front part of vehicle - Overview of Control Modules

N153 - Driver's Safety Belt Tensioner Igniter 1 Locations Driver Seat Belt Tensioner Igniter 1 -N153-

N154 - Front Passenger's Safety Belt Tensioner Igniter 1 Locations Front Pass Seat Belt Tensioner Igniter 1 -N154-

T3br - 3-Pin Connector, below driver's seat

T5v - 5-Pin Connector

T75 - 75-Pin Connector

* - Only models with front safety belt tensioner

Previous Diagram 55/5 (Tracks 43-56)

Next Diagram 55/7 (Tracks 71-84)