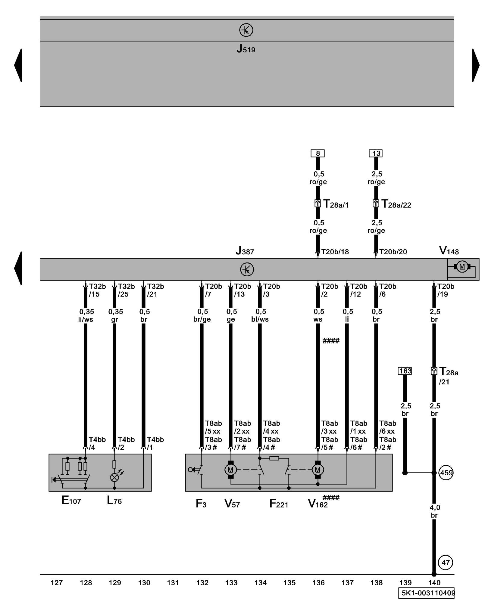
Diagram 3/11 (Tracks 127-140)
IMPORTANT NOTE:
This manufacturer uses "Track" style wiring diagrams.
For information on how to use these diagrams effectively, please refer to Diagram Information and Instructions. Diagram Information and Instructions
Front Passenger's Door Control Module, Front Passenger's Door Central Locking Lock Unit, Window Regulator Switch (in RF door), Front Passenger's Window Regulator Motor

ws = white
sw = black
ro = red
br = brown
gn = green
bl = blue
gr = grey
li = lilac
ge = yellow
or = orange
rs = pink
E107 - Window Regulator Switch (in RF door)
F3 - Front Passenger's Door Contact Switch Locations
F221 - Front Passenger's Door Central Locking Lock Unit Locations
J387 - Front Passenger's Door Control Module Control modules in front part of vehicle - Overview of Control Modules
J519 - Vehicle Electrical System Control Module Control modules in front part of vehicle - Overview of Control Modules
L76 - Push Button Illumination
T4bb - 4-Pin Connector
T8ab - 8-Pin Connector
T20b - 20-Pin Connector
T28a - 28-Pin Connector, connector station A-pillar, right Overview of connector stations and connectors
T32b - 32-Pin Connector
V57 - Front Passenger's Door Central Locking System Motor
V148 - Front Passenger's Window Regulator Motor
V162 - Front Passenger's Central Locking (Safe) Motor
(47) - Ground Connection (in front right footwell) Overview Of Ground Connections in Interior
(459) - Ground Connection 15 (in passenger compartment wiring harness)
#### - Only models with -SAFE- Function
xx - Only left-hand drive vehicles
# - Only right-hand drive vehicles
Previous Diagram 3/10 (Tracks 113-126)
Next Diagram 3/12 (Tracks 141-154)