Operation CHARM: Car repair manuals for everyone.

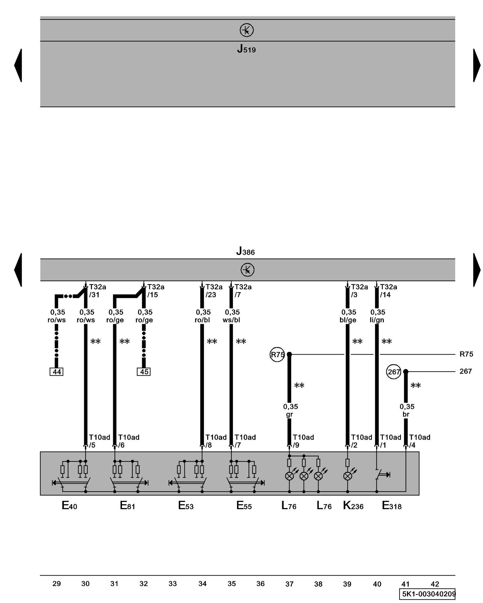
Diagram 3/4 (Tracks 29-42)






IMPORTANT NOTE:
This manufacturer uses "Track" style wiring diagrams.
For information on how to use these diagrams effectively, please refer to Diagram Information and Instructions. Diagram Information and Instructions


Driver's Door Control Module, Driver's Window Regulator Switch, Child Safety Button





ws = white
sw = black
ro = red
br = brown
gn = green
bl = blue
gr = grey
li = lilac
ge = yellow
or = orange
rs = pink

E40 - Left Front Window Regulator Switch

E53 - Driver's Left Rear Window Regulator Switch

E55 - Driver's Right Rear Window Regulator Switch

E81 - Driver's Right Front Window Regulator Switch

E318 - Child Safety Button

J386 - Driver's Door Control Module

J519 - Vehicle Electrical System Control Module Control modules in front part of vehicle - Overview of Control Modules

K236 - Active Child Safety Indicator Lamp

L76 - Push Button Illumination

T10ad - 10-Pin Connector

T32a - 32-Pin Connector

(267) - Ground Connection 2 (in driver's door wiring harness)

(R75) - Connection 1 (58d) (in door control module wiring harness)

** - Only models with rear window regulator

-^^- - Only models without rear window regulator

Previous Diagram 3/3 (Tracks 15-28)

Next Diagram 3/5 (Tracks 43-56)