Connector Overview Antenna Connections 8 Through 10
Connector Overview Antenna Connections 8 through 10

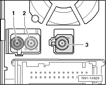
1 Terminal connector antenna radio reception AM and FM, Double Fakra, no coding, impedance 50 Ohm, color cream white
2 Terminal connector antenna radio reception FM2, Double Fakra, coding B, impedance 50 Ohm, color cream white
3 Terminal connector antenna navigation, Fakra, coding C, impedance 50 Ohm, color signal blue