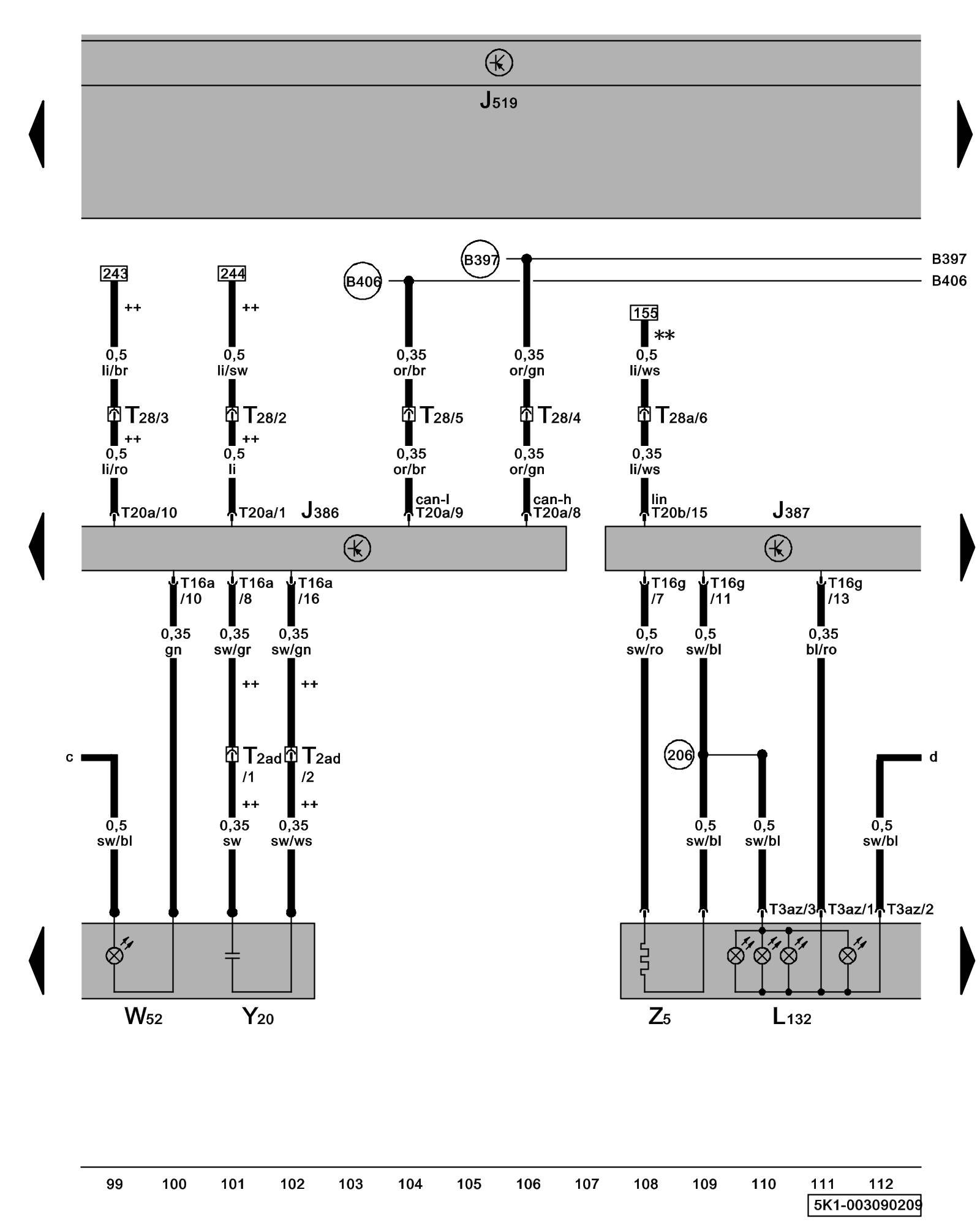
Diagram 3/9 (Tracks 99-112)
IMPORTANT NOTE:
This manufacturer uses "Track" style wiring diagrams.
For information on how to use these diagrams effectively, please refer to Diagram Information and Instructions. Diagram Information and Instructions
Driver's Entry Lamp (in outside mirror), Driver's Automatic Day/Night Outside Mirror, Front Passenger's Exterior Mirror Turn Signal, Front Passenger's Heated Outside Mirror

ws = white
sw = black
ro = red
br = brown
gn = green
bl = blue
gr = grey
li = lilac
ge = yellow
or = orange
rs = pink
J386 - Driver's Door Control Module
J387 - Front Passenger's Door Control Module Control modules in front part of vehicle - Overview of Control Modules
J519 - Vehicle Electrical System Control Module Control modules in front part of vehicle - Overview of Control Modules
L132 - Front Passenger's Exterior Mirror Turn Signal Lamp
T2ad - Double Connector, on mirror
T2ah - Double Connector
T3az - 3-Pin Connector
T16a - 16-Pin Connector
T16g - 16-Pin Connector
T20a - 20-Pin Connector
T20b - 20-Pin Connector
T28 - 28-Pin Connector, connector station A-pillar, left Overview of connector stations and connectors
T28a - 28-Pin Connector, connector station A-pillar, right Overview of connector stations and connectors
W52 - Driver's Entry Lamp (in outside mirror)
Y20 - Driver's Automatic Day/Night Outside Mirror
Z5 - Front Passenger's Heated Outside Mirror
(206) - Ground Connection (in Front Passenger's door wiring harness)
(B397) - Comfort System CAN-Bus High Connection 1 (in main wiring harness)
(B406) - Comfort System CAN-Bus Low Connection 1 (in main wiring harness)
++ - Only models with driver's automatic day/night outside mirror
** - Only models with rear window regulator
Previous Diagram 3/8 (Tracks 85-98)
Next Diagram 3/10 (Tracks 113-126)