Operation CHARM: Car repair manuals for everyone.

Lock Cylinder







Lock Cylinder


Follow the procedure in the Repair Information when disconnecting and connecting the battery. Refer to => [ Battery, Disconnecting and Connecting ] Battery, Disconnecting and Connecting.

Steering lock may be destroyed.

If steering lock is operated without lock cylinder, it locks and must be replaced.

Steering lock must not be operated without lock cylinder.

Removal

- Disconnect the battery. Refer to => [ Battery, Disconnecting and Connecting ] Battery, Disconnecting and Connecting.

- Remove the steering column trim.

The steering column lever, the spiral spring and the steering wheel are not shown in the illustration. Components must not be removed when removing lock cylinder.

The immobilizer induction coil is attached to the lock cylinder and cannot be replaced separately.

To improve clarity, the ignition key is not shown in the following illustrations.

The hole can be located opposite 180° as shown in the illustration. This does not affect removing and installing.

- Insert ignition key into lock cylinder and turn it into position Drive.






Key positions of lock cylinder:

1 Position Off
2 Position Run
3 Position Start

For reasons of clarity, the following illustration depicts lock cylinder as removed and without ignition key.






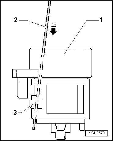
- Insert a steel wire (approximately 1.2 mm diameter) into the hole - arrow - next to the ignition key.

- Using the steel wire - 2 -, release - arrow - the retaining lever - 3 - of the lock cylinder - 1 -.

- Remove the lock cylinder - 1 - from the steering lock housing.

- Disconnect the connector - arrow - on the anti-theft immobilizer induction coil.






Installation






To improve clarity, the ignition key is not shown in the following illustration.

- Insert the ignition key into the lock cylinder - 1 - and turn it to the Run position.

- Using the steel wire - 2 -, release - arrow - the retaining lever - 3 - of the lock cylinder - 1 -.

- Connect the immobilizer induction coil connector.

- Insert the lock cylinder - 1 - into the steering lock housing.

Connection of induction coil for anti-theft immobilizer must be inserted into guide on steering lock housing.

- Pull the steel wire - 2 - out of the lock cylinder - 1 - and verify that the lock cylinder is securely seated in the steering lock housing.

- Install all the components in reverse order of removal.