Operation CHARM: Car repair manuals for everyone.

Flat Connector Systems






Flat Connector Systems

If necessary, housing securing mechanisms (secondary locks) must be released or removed using specified tool before releasing the contacts. Refer to => [ Secondary Lock ] Secondary Lock.

Flat Connector System With One Retaining Tab






- Guide the release tool which fits the terminal housing into release channel on terminal housing.

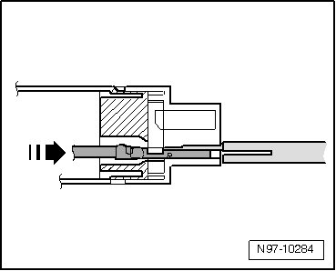
- Grasp contact at wire and push it gently into terminal housing - arrow -.

By pushing the contact in the direction of the terminal housing, the contact retaining tab is lifted off the housing shoulder and can be released using the release tool.

- At the same time, push release tool in direction of terminal housing and pull the released contact out of terminal housing - arrow -.






- After removing the contact, release tool can be pulled out of terminal housing again.

Flat Connector System With Two Retaining Tabs






- Guide the release tool which fits the terminal housing into release channel on terminal housing.

- Grasp contact at wire and push it gently into terminal housing until it stops - arrow -.

By pushing the contact in the direction of the terminal housing, the contact retaining tabs are lifted off the housing shoulder and can be released using the release tool.

- At the same time, push release tool in direction of terminal housing and pull the released contact out of terminal housing - arrow -.






- After removing the contact, release tool can be pulled out of terminal housing again.

Asymmetrical






- Guide the release tool which fits the terminal housing into release channel on terminal housing.

- Grasp contact at wire and push it gently into terminal housing - arrow -.

By pushing the contact in the direction of the terminal housing, the contact retaining tabs are lifted off the housing shoulder and can be released using the release tool.

- At the same time, push release tool in direction of terminal housing and pull the released contact out of terminal housing - arrow -.






- After removing the contact, release tool can be pulled out of terminal housing again.