Operation CHARM: Car repair manuals for everyone.

Valve, Intake/Exhaust






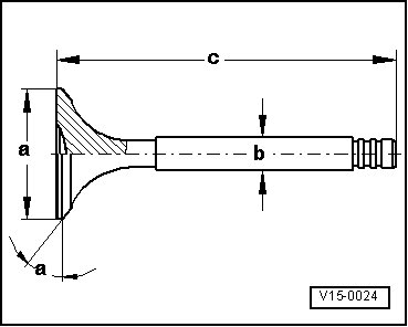
Valve Dimensions

The valves must not be reground. Only hand lapping is permitted.