Operation CHARM: Car repair manuals for everyone.

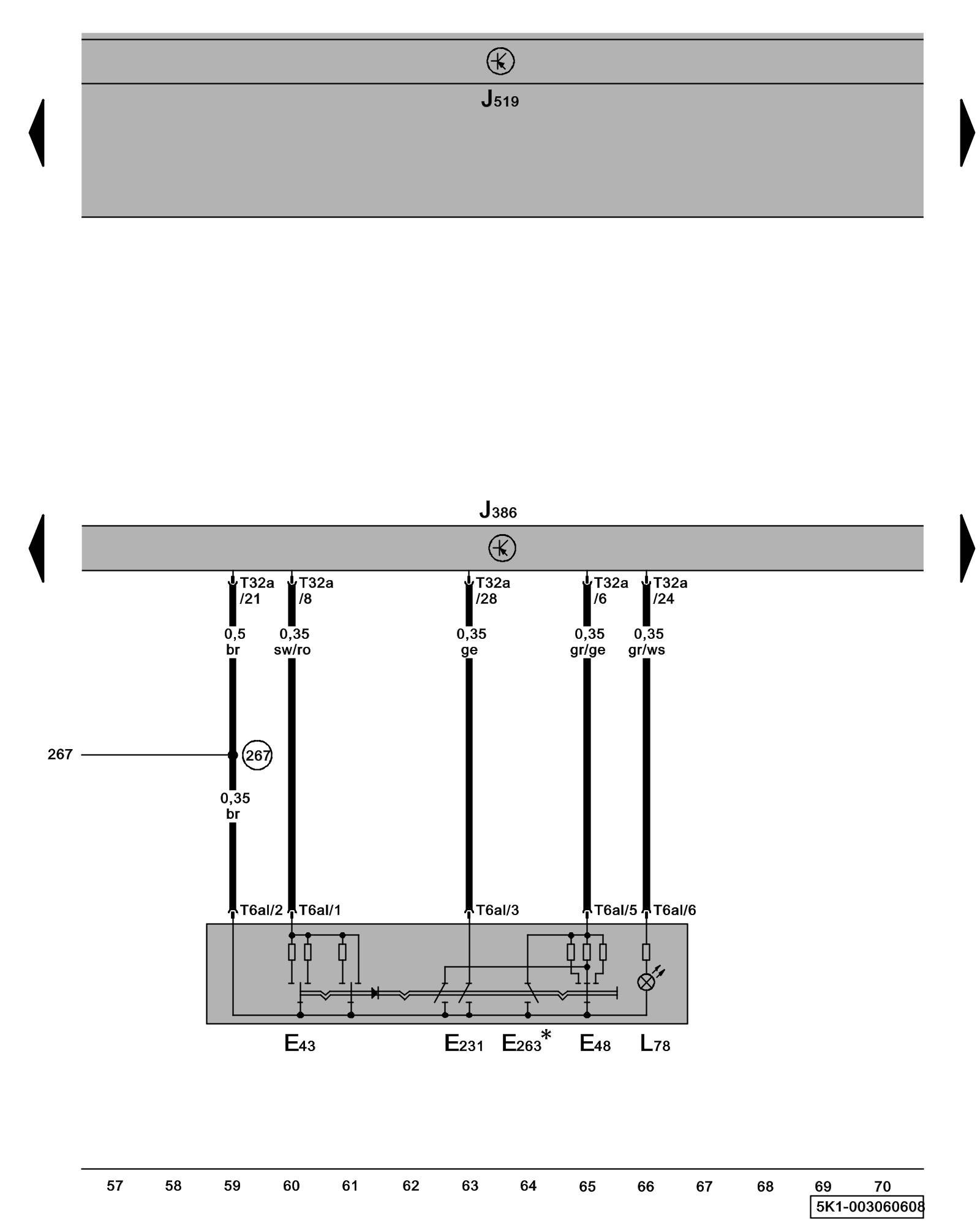
Diagram 3/6 (Tracks 57-70)






IMPORTANT NOTE:
This manufacturer uses "Track" style wiring diagrams.
For information on how to use these diagrams effectively, please refer to Diagram Information and Instructions. Diagram Information and Instructions


Driver's Door Control Module, Mirror Adjustment/Fold-in Switch, Outside Mirror Heating Switch





ws = white
sw = black
ro = red
br = brown
gn = green
bl = blue
gr = grey
li = lilac
ge = yellow
or = orange
rs = pink

E43 - Mirror Adjustment Switch

E48 - Mirror Selector Switch

E231 - Outside Mirror Heating Switch

E263 - Mirror Folding Switch

J386 - Driver's Door Control Module

J519 - Vehicle Electrical System Control Module Control modules in front part of vehicle - Overview of Control Modules

L78 - Mirror Adjustment Switch Illumination

T6al - 6-Pin Connector

T32a - 32-Pin Connector

(267) - Ground Connection 2 (in driver's door wiring harness)

* - Only models with fold-in mirrors

Previous Diagram 3/5 (Tracks 43-56)

Next Diagram 3/7 (Tracks 71-84)