Operation CHARM: Car repair manuals for everyone.

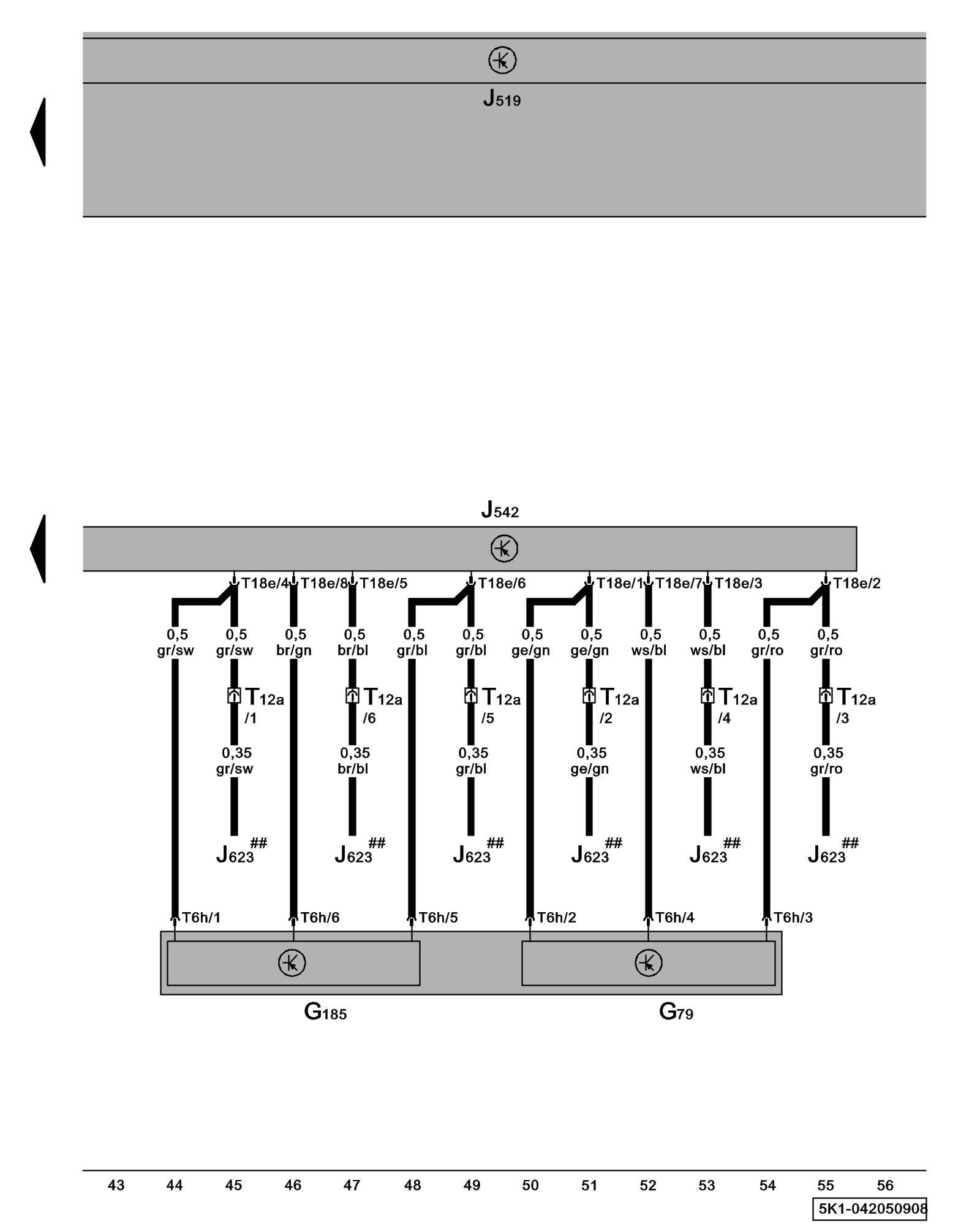
Diagram 42/5 (Tracks 43-56)






IMPORTANT NOTE:
This manufacturer uses "Track" style wiring diagrams.
For information on how to use these diagrams effectively, please refer to Diagram Information and Instructions. Diagram Information and Instructions


Decrease Engine Speed (RPM) Control Module, Throttle Position (TP) Sensor





ws = white
sw = black
ro = red
br = brown
gn = green
bl = blue
gr = grey
li = lilac
ge = yellow
or = orange
rs = pink

G79 - Throttle Position (TP) Sensor Accelerator Pedal Module Overview

G185 - Accelerator Pedal Position Sensor 2 Accelerator Pedal Module Overview

J519 - Vehicle Electrical System Control Module Control modules in front part of vehicle - Overview of Control Modules

J542 - Decrease Engine Speed (RPM) Control Module (in front left footwell)

J623 - Engine Control Module (ECM), in plenum chamber, center Control modules in front part of vehicle - Overview of Control Modules

T6h - 6-Pin Connector

T12a - 12-Pin Connector, blue, in front left footwell

T18e - 18-Pin Connector

## - => Wiring Diagram engine

Previous Diagram 42/4 (Tracks 29-42)