Operation CHARM: Car repair manuals for everyone.

Headlamp Washer System






Headlamp Washer System

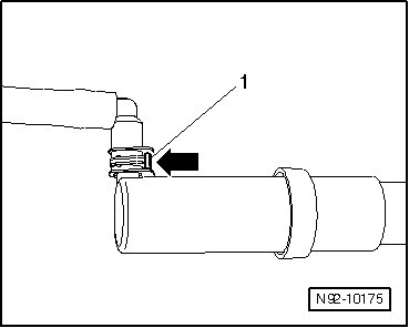
The following hose connection types are used for connecting hoses to pumps and washer nozzles or as separating points.

- Disconnect by depressing clip - 1 - - arrow - and then separating coupling from jet.






- Reconnect by keeping clip - arrow - depressed while pushing coupling onto jet until it engages. Check securing clip for secure locking by attempting to pull it off without depressing clip.