Turn Signal Bulb
Turn Signal Bulb
• The following illustrations show the procedure for replacing right front turn signal bulb (M7) inside the right headlamp.
• The procedure for replacing the left front turn signal bulb (M5) in the left headlamp is similar.
• It is not necessary to remove the headlamp in order to remove the turn signal bulb.
Removal
- Switch off ignition, switch off all electrical consumers and remove ignition key.
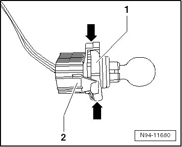
- Turn the cap - 2 - to the left and remove it.

- Turn the bulb socket - 1 - in - direction of arrow - and pull it together with the turn signal bulb out of the reflector.

- Press the releases - arrows - and pull the front turn signal bulb - 1 - out of the bulb socket - 2 -.

• The front turn signal bulb and the bulb socket are a single piece and cannot be disassembled.
Front turn signal lamp : 12V, PSY 24W
Installation
When installing the cover cap, make sure the cap is properly seated. It is destroyed by entry of water into headlamp.
• Do not touch the glass of the light bulb, when installing. Your fingers will leave traces of grease on the glass which, when the light is switched on, will evaporate and cloud the glass.
Install in reverse order of removal, noting the following:
- Check headlamp for function.