Glove Compartment Lamp Switch (E26)
Glove Compartment Lamp Switch (E26)
Removal
- Switch off ignition, switch off all electrical consumers and remove ignition key.
- Remove the glove compartment.
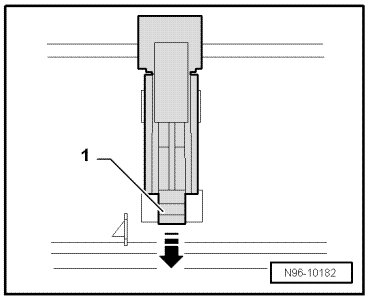
- Disengage retaining tab - 1 - and remove switch from guide rails - arrow -.

Installation
Installation is performed in the reverse order of removal.