Operation CHARM: Car repair manuals for everyone.

Front Door Handle: Service and Repair






Cap without Lock Cylinder

Special tools, testers and auxiliary items required

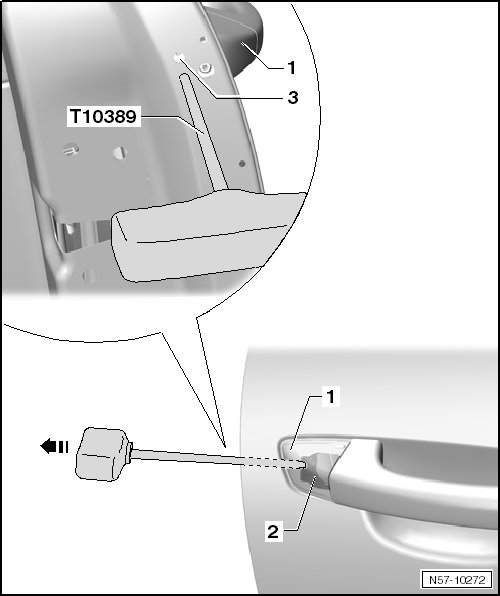
Assembly Tool (T10389)

Removing






- Remove the plug - 3 -.

- Insert the (T10389) approximately 60 mm (2 3/8 inches) (into the door behind the bracket locking hook - 2 -.

- Pull the (T10389) toward the rear - arrow - until the hook disengages.

- Pull the door handle - 2 - in - direction of arrow a -.






- Remove the cap - 1 - from the door - arrow b -.

Installation

- Pull the door handle - 2 - in - direction of arrow a -.






- Slide the cap - 1 - into the bracket - arrow b -.






- Remove the plug - 5 -.

- Insert a screwdriver - 4 - on the hooks - 3 -.

- Push the screwdriver - arrow - until the hook engages.